Циклон ЦН 15

Циклоны ЦН-15 применяются для сухой газоочистки в различных технологических процессах, таких как сжигание топлива, сушка, агломерация, обжиг и подобных. Так же используется для очистки аспирационного воздуха в машиностроительной, нефтяной, химической промышленности, энергетике, черной и цветной металлургии и многих других отраслях. Данный тип циклонов является одним из самых универсальных, благодаря чему и имеет такой большой спектр применения.

Использование циклонов ЦН-15 запрещается в условиях взрывоопасной и токсичной среды (возможен взрыв оборудования); не предназначен для улавливания сильно слипающейся пыли (низкая эффективность); не рекомендуется использовать при абразивных типах пыли (повышенный износ).

Особенности ЦН-15

К особенностям циклонов ЦН-15 можно отнести возможность изготовления агрегата во взрывобезопасном исполнении. Для этого бункер циклона имеет наименьшие размеры, что позволяет избегать накапливания взрывоопасной пыли, а также конструкция предусматривает взрывные клапана. Данное исполнение возможно, но на практике применяется достаточно редко и только по специальному заказу. Стандартная конструкция не включает в себя данные свойства.

В зависимости от среды использования и пропускной способности по очищаемому воздуху, циклоны ЦН-15 могут изготавливаться в одиночном или групповом исполнении, от 2-х до 8-ми циклонов. В групповом исполнении камерой очищенного воздуха может быть пылесборник либо «улитка». Одиночный вариант используется только с «улиткой».

Что бы увеличить срок службы циклона, в местах наибольшего износа, возможно приваривание дополнительных листов металла, с наружной стороны стенок агрегата.

Техническая информация

Условные обозначения на примере модели ЦН-15-800х4УП:

  • ЦН - циклон НИИОгаз;
  • 15 – угол наклона в градусах входного патрубка от горизонтали;
  • 800 – внутренний диаметр цилиндрической части агрегата;
  • 4 – кол-во циклонов в одной группе;
  • У – «улитка» (камера очищенного газа);
  • П – форма бункера пирамидальная;

Циклон ЦН-15 схема
Схема работы циклона ЦН-15

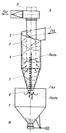
Воздушный поток с частицами пыли поступает в патрубок (1), размещенный на поверхности корпуса циклона (4). Воздушный поток вращательными движениями вниз, двигаясь от патрубка, проходит между внешней стороны вытяжной трубы (3) и цилиндрической частью (4) вплоть до конусообразной частью циклона (5). Винтообразная крышка (2) служит для усиления центробежной силы, которая воздействует на поток. В конусообразной части циклона (5), образовывая вихрь, поток ускоряется движется вниз. В последствии, частицы пыли легко отделяются от струи воздуха благодаря инерции. Минуя конусообразную часть, поток, через выпускное отверстие (6), проходит в бункер, а пылеобразующая часть струи попадает в бункер (7). Теряя инерционную скорость, газ меняет направление на противоположное, Газ теряет инерционную скорость и меняет направление движения на противоположную, после чего поток выходит через выпускное отверстие в трубу (3). После этапа очистки воздушного потока, газ выводится из циклона ЦН-15 посредством улитки (8). Пылевые отходы удаляются из бункера агрегата при помощи затвора (10).

Циклон ЦН-15 одиночный
Циклон ЦН-15 одиночный

При использовании циклона в окружающей среде, температура воздуха которой не превышает 40°С, для изготовления применяется углеродистая сталь. При низких температурах от -40°С используются низколегированные стали. Доставка агрегата, как правило, производится в собранном виде, однако, при диаметре циклона более 600 мм., поставка производится в разобранном виде.

Допустимая запыленность газа для применения ЦН-15:

  • Слабо слипающиеся пыли – не более 1000 мг/м3;
  • Средне слипающаяся пыль – не более 250 мг/м3;
  • Температура очищаемого газа – до 400°С;
  • Максимальное давление, кгс/м2 (кПа) - 500 (5);
  • Коэффициент гидравлического сопротивления: одиночный вариант исполнения - 147;
  • Групповой циклон с «улиткой» - 175, с пылесборником - 182;
  • Оптимальная скорость, м/с: в обычных условиях Vц(Vвх) - 3,5 (16,0); в условиях абразивной пыли Vц(Vвх) - 2,5 (11,4);

Выгрузку пыли, собранной в циклоне, обеспечивает пылевой (шлюзовый) затвор, который должен соответствовать следующим параметрам:

  • Безотказная работа;
  • Герметичность;
  • Регулярную выгрузку пыли;
  • Сохранение работоспособности при низком давлении в бункере циклона;

При несоблюдении одного из пунктов, может произойти выброс собранных пылевых отходов в атмосферу. В случае пониженного давления в бункере, эффективность очистки воздуха от пыли резко снижается. Для увеличения эффективности газоочистки используются батарейные циклоны ЦН-15. Батарейный циклон - это сгруппированные в одном корпусе циклонные элементы единого диаметра. На практике циклоны типа ЦН-15 часто используются в батарейной установке.

Технические характеристики ЦН-15

Модель Производительность м3 Диаметр, мм Высота, мм Масса, кг
Без улитки или бункера
Циклон ЦН-15-200 282-450 200 912 35
Циклон ЦН-15-300 828-954 300 1368 40
Циклон ЦН-15-400 1450-1691 400 1824 72
Циклон ЦН-15-450 1835-2141 450 2052 91
Циклон ЦН-15-500 2270-2645 500 2280 112
Циклон ЦН-15-550 2740-3200 550 2508 136
Циклон ЦН-15-600 3262-3810 600 2736 162
Циклон ЦН-15-650 3825-4460 650 2964 190
Циклон ЦН-15-700 4400-5180 700 3192 220
Циклон ЦН-15-750 5100-5950 750 3420 253
Циклон ЦН-15-800 5800-6740 800 3648 288
Циклон ЦН-15-900 5700-9200 900 4104 364
Циклон ЦН-15-1000 7100-11300 1000 4560 450
Циклон ЦН-15-1200 10200-16200 1200 5472 647
Циклон ЦН-15-1400 13900-22200 1400 6384 881

Сертификаты соответствия

Сертификат соответствия Таможенная декларация
ООО "Альфа-ТЭК"
Россия, ул. Мамина-Сибиряка, 126, Екатеринбург
Запрос на оборудование