Циклон ЦР
Циклон ЦР не предназначен для очистки потока воздушной смеси от маслянистой, сильнослипающейся, крупнодисперсной пыли, с высокой абразивной составляющей. Применяется в сельском хозяйстве, деревообрабатывающих предприятиях, зерновой отрасли, в производстве строительных материалов и в системах пневмотранспорта аспирационных установках для эффективной очистки воздуха и улавливания пыли.
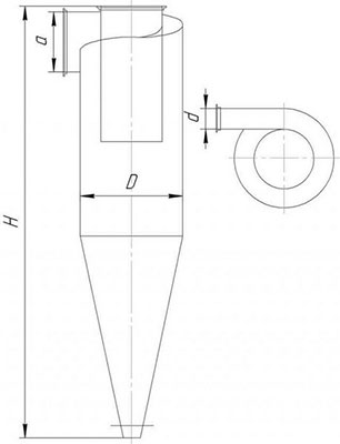
Циклон типа ЦР состоит из:
- входного патрубка;
- корпуса;
- выхлопной трубы;
- бункера.
Воздушный пылесодержащий поток поступает во входной патрубок (со скоростью 14-18 м/сек), при помощи тангенциального завихрителя изменяет направление своего движения на спиральное (левое или правое), нисходящее. Частицы воздушной смеси отбрасываются к стенке корпуса циклона и выпадают в бункер. Освобожденный от твердых частиц поток воздуха, выходит через выхлопную трубу.
Работа циклона ЦР основывается на принципе центробежной силы, когда вращающийся поток газа создает разность скоростей частиц, что позволяет им разделиться на разные слои внутри циклона.
Одним из основных преимуществ циклона ЦР является его способность обрабатывать большие объемы материалов за короткое время Кроме того, циклон ЦР имеет простую и надежную конструкцию, что обеспечивает низкую стоимость эксплуатации и минимальную потребность в обслуживании.
При использовании циклона ЦР в качестве пылеуловителя, необходимо обеспечить регулярную или периодическую очистку бункера, т.к. переполнении бункера резко снижается эффективность очистки пылевоздушной смеси.
Низкий уровень сопротивления циклона ЦР (700-900 Па) и невысокий показатель потребления электроэнергии (благодаря применению маломощных вентиляционных установок), обеспечили его широкое применение для перемещения сыпучих материалов (зерно, пластик, цемент и др.). Циклон ЦР изготавливается из углеродистой стали. Применяют данный тип циклона в одиночном и групповом (2, 4, 6 и более шт.) исполнениях. Для обеспечения номинальной эффективности, надлежит соблюдать показатель давления и учитывать производительность каждого типоразмера циклона.

Типоразмеры циклона ЦР и технические характеристики
| Наименование | Воздухообмен при Vвх= 14-18м/с | Воздухообмен (производительность по воздуху) | Высота, мм | Ширина, мм | Масса, кг |
| Циклон ЦР200 | 230-300 | 200-260 | 165 | 200 | 8,8 |
| Циклон ЦР225 | 290-380 | 260-320 | 185 | 225 | 10,1 |
| Циклон ЦР250 | 365-470 | 320-390 | 205 | 250 | 12,5 |
| Циклон ЦР275 | 440-570 | 390-475 | 225 | 275 | 14,4 |
| Циклон ЦР300 | 525-680 | 475-510 | 250 | 300 | 16,2 |
| Циклон ЦР325 | 620-800 | 550-660 | 270 | 325 | 19,2 |
| Циклон ЦР350 | 700-910 | 630-750 | 290 | 350 | 21,7 |
| Циклон ЦР375 | 810-1050 | 725-875 | 310 | 375 | 24,6 |
| Циклон ЦР400 | 930-1190 | 825-1000 | 330 | 400 | 27,5 |
| Циклон ЦР425 | 1050-1350 | 935-1125 | 350 | 425 | 30,8 |
| Циклон ЦР450 | 1180-1520 | 1050-1250 | 370 | 450 | 34,8 |
| Циклон ЦР475 | 1310-1700 | 1175-1400 | 390 | 475 | 38,9 |
| Циклон ЦР500 | 1460-1880 | 1300-1565 | 410 | 500 | 44,6 |