Циклон СЦН 40
Для очистки воздушного потока от мелкодисперсных составляющих применяется циклон типа СЦН-40. Широкое применение на предприятиях территории стран СНГ обеспечили:
- высокая эффективность (до 95% для фракций размером менее 10 мкм);
- надежность (забивается крайне редко);
- длительное время эксплуатации;
- низкая затратность при обслуживании.
Циклоны СЦН-40 обеспечивают эффективную очистку пылевоздушной смеси от мелких фракций, образующихся в различных технологических процессах (шлифовке, агломерации, аспирации и др.) в металлургии, энергетике, химической, тяжелой, пищевой и других отраслях промышленностей.
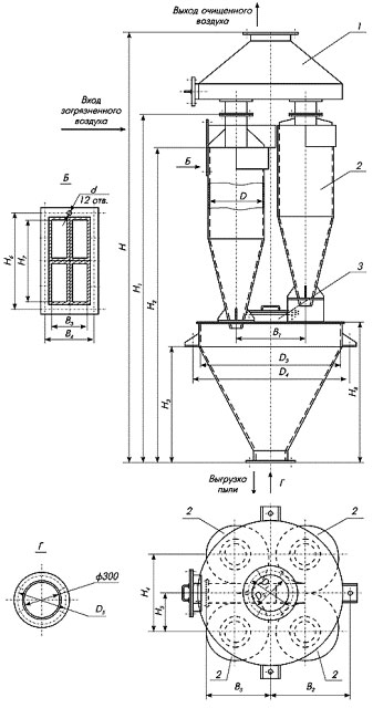
Принципиально работа циклона СЦН-40 заключается в использовании силы инерции и гравитации. Через входной патрубок поступает пылевоздушная смесь со скоростью от 16 до 24 м/с. Неочищенный поток воздуха закручивается по спирали (правой или левой, в зависимости от исполнения циклона). Мелкодисперсные частицы пыли, благодаря образованию центробежной силы отбрасываются к стенкам корпуса циклона и падают (сила гравитации) в бункер для сбора пыли. Через выхлопную трубу выходит очищенный поток воздуха. Для создания батареи, циклоны (2, 4, 6, 8, 10 шт.) объединяются в группы с помощью переходников из стали, такие пылеуловители является более высокоэффективными системами очистки.
Для предприятий пищевой промышленности циклоны СЦН-40 производятся из нержавеющей стали, для других производств из черных металлов с лакокрасочным покрытием. Для очистки от абразивных частиц, при производстве циклонов используется металл толщиной 3 мм.
Циклон одиночного исполнения.

Типоразмеры одиночного циклона СЦН-40 и технические характеристики
| Наименование | Производительность по воздуху м3/ч | Диаметр, мм | Высота, мм | а, мм | b, мм | Масса, кг |
| Циклон СЦН-40-300 | 330-480 | 300 | 1210 | 100 | 48 | 33 |
| Циклон СЦН-40-400 | 590-860 | 400 | 1580 | 125 | 62 | 40 |
| Циклон СЦН-40-500 | 920-1340 | 500 | 1940 | 150 | 73 | 46 |
| Циклон СЦН-40-600 | 1320-1930 | 600 | 2293 | 200 | 98 | 57 |
| Циклон СЦН-40-700 | 1800-2630 | 700 | 2642 | 250 | 123 | 69 |
| Циклон СЦН-40-800 | 2350-3435 | 800 | 3014 | 300 | 148 | 85 |
| Циклон СЦН-40-900 | 2975-4350 | 900 | 3377 | 350 | 173 | 108 |
| Циклон СЦН-40-1000 | 3670-5370 | 1000 | 3762 | 400 | 198 | 139 |
| Циклон СЦН-40-1100 | 4475-6500 | 1200 | 4098 | 450 | 223 | 178 |
| Циклон СЦН-40-1200 | 5290-7730 | 1000 | 4468 | 500 | 248 | 139 |
Циклон группового исполнения.

Типоразмеры группового исполнения (из 4х штук) циклона СЦН-40 и технические характеристики
| Наименование | Производительность по воздуху м3/ч | Диаметр, мм | Высота, мм | Ширина, мм | Масса, кг |
| Циклон СЦН-40-300х4 | 1630-1930 | 300 | 1210 | 920 | 200 |
| Циклон СЦН-40-400х4 | 2890-3430 | 400 | 1580 | 1150 | 360 |
| Циклон СЦН-40-500х4 | 4520-5370 | 500 | 1940 | 1440 | 570 |
| Циклон СЦН-40-600х4 | 6500-7730 | 600 | 2293 | 1680 | 1000 |
| Циклон СЦН-40-700х4 | 8950-10630 | 700 | 2642 | 1920 | 1380 |
| Циклон СЦН-40-800х4 | 11570-13740 | 800 | 3014 | 2140 | 1880 |
| Циклон СЦН-40-900х4 | 14650-17400 | 900 | 3377 | 2412 | 2350 |
| Циклон СЦН-40-1000х4 | 18100-21480 | 1000 | 3762 | 2662 | 2980 |
| Циклон СЦН-40-1100х4 | 21900-26000 | 1200 | 4098 | 2902 | 4880 |
| Циклон СЦН-40-1200х4 | 25880-30730 | 1000 | 4468 | 3165 | 5770 |